Seite 1 von 1
Drehfeldprüfer selber bauen
Verfasst: Sonntag 20. Mai 2012, 01:53
von AlteHeuler324
Hallo zusammen,
ich habe beim Surfen folgende Schaltung gefunden:

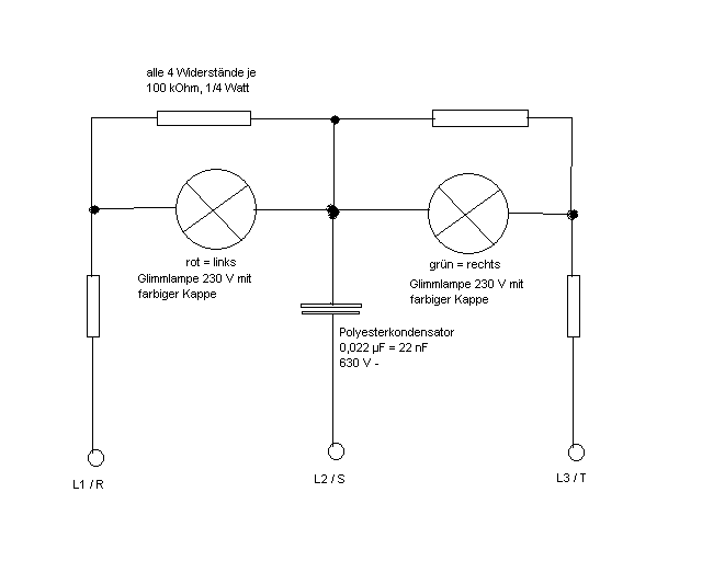
- Schaltplan des Drehfeldprüfers
Quelle: http://forum.electronicwerkstatt.de/phpBB/Messgeraete/drehfeldrichtungsanzeigegeraetebausatzschaltplan_fuer_kleines_geld-t35550f24_bs0.html - 25156_1114445417_Drehfeldrichtungspr_fer.GIF (5.3 KiB) 13841 mal betrachtet
diese nützliche Schaltung ist ein Drehfeldprüfer, mit dem man feststellen kann, ob die Phasen richtig herum angeschlossen sind. Mit ein paar Bauteilen ist diese Schaltung aufgebaut. Der Kondensator sollte bis "1000V=" bzw. "400V~" spannungsfest sein, "690V=" sind da zu wenig.
Die Anschlüsse werden mit der entsprechenden Phase verbunden. Leuchtet die grüne Glimmlampe, so habt ihr die Phasen richtig herum angeschlossen. Leuchtet jedoch die rote Glimmlampe, so ist das Drehfeld falsch herum. Dann müsst ihr die beiden schwarzen Zuleitungsadern vertauschen.

- so kann das Teil aussehen
Umsetzung dieser Schaltung meinerseits. rot = L1, gelb = L2, grün = L3.
Da ich keine grünen Glimmlampen mehr hatte, verbaute ich eine weiße.
Vorsicht!!!
Zwischen den Anschlüssen liegen ca 400V! Wollt ihr diese Schaltung nachbauen, so solltet ihr Vorkenntnisse im Bereich der Elektrotechnik besitzen. Wer mit diesem Schaltplan nichts anfangen kann bzw. keine Ahnung davon hat, sollte den Nachbau unterlassen! Nachbau erfolgt auf eigene Gefahr! Bei Basteleien an Netzspannung müssen die 5 Sicherheitsregeln beachtet werden!
Re: Drehfeldprüfer selber bauen
Verfasst: Sonntag 20. Mai 2012, 09:37
von Siren lover
Sehr interessant. ;-)
Da stellt sich aber die Frage, warum man nicht 19,99€ für nen geprüften Drehfeldprüfer ausgibt...
Auch viele zweipolige Spannungsprüfer können das Drehfeld prüfen...
Re: Drehfeldprüfer selber bauen
Verfasst: Sonntag 20. Mai 2012, 14:03
von AlteHeuler324
@siren lover: wer die Bauteile noch irgendwo rumfliegen hat und lieber bastelt als kauft, ist das doch das Ideale ;-) aber Zweipolprüfgeräte fürs Drehfeld? würde mich mal interessieren, wie die funktionieren...
@niklas: ja stimmt, hätte man auch machen können, aber hatte leider nur rot, gelb und grün als Kabel da...
Re: Drehfeldprüfer selber bauen
Verfasst: Sonntag 20. Mai 2012, 14:50
von Die Sirenenwerkstatt
Ganz ehrlich: wenns um spannungen jenseits der 50V geht sollte man vorsichtig damit sein, zum Lötkolben zu greifen! Bei boayey gibs die dinger für 'n appel und 'n ei!
Ich hab damals vom Ralph (danke nochmal) ein Handmessgerät bekommen (weiss grad nicht den Namen) das Teil kann auch die Drehrichtung anzeigen. ganz simpel.
Re: Drehfeldprüfer selber bauen
Verfasst: Sonntag 20. Mai 2012, 15:12
von Siren lover
AlteHeuler324 hat geschrieben:@siren lover: wer die Bauteile noch irgendwo rumfliegen hat und lieber bastelt als kauft, ist das doch das Ideale ;-) aber Zweipolprüfgeräte fürs Drehfeld? würde mich mal interessieren, wie die funktionieren...
Ja, klar. Sei aber vorsichtig. ;-)
@sirenator
Bin ganz deiner Meinung^^
Re: Drehfeldprüfer selber bauen
Verfasst: Sonntag 20. Mai 2012, 20:53
von Die Sirenenwerkstatt
Niklas hat geschrieben:sirenator hat geschrieben:Ganz ehrlich: wenns um spannungen jenseits der 50V geht sollte man vorsichtig damit sein, zum Lötkolben zu greifen!
Dann wäre ich arbeitslos. Außerdem: KT88 mit 700V ;)
Gut ich meinte das eher für nicht fachpersonal, du und andere Elektriker die ihr Handwerk auch gelernt haben seien ausgenommen^^
Re: Drehfeldprüfer selber bauen
Verfasst: Mittwoch 23. Mai 2012, 01:03
von Wolfi
Leute, kritisiert doch nicht immer gleich.
Vielleicht interessiert hier den einen oder anderen im Forum wirklich, wie so ein Drehfeldprüfer schaltungstechnisch aufgebaut ist.
Und diese Geräte habe ich teilweise schon für richtig teures Geld, bis jenseits der 50 Euronen, angeboten gesehen !
Von daher sollte man dem Alten Heuler für das Einstellen des Schaltplans vielmehr dankbar sein.
Daß das Arbeiten an Starkstromanlagen nichts für elektrotechnische Laien ist, und beim Selbstbau entsprechender Geräte der
absolut berührungssichere Aufbau in ein geeignetes Isolierstoffgehäuse zwingend erforderlich ist, sollte selbstverständlich sein.
Und einen entsprechenden Warnhinweis hat er ja ausdrücklich mit dazugeschrieben.
Grüße,
Wolfi
Re: Drehfeldprüfer selber bauen
Verfasst: Mittwoch 23. Mai 2012, 15:50
von AlteHeuler324
Ich würde das Teil auch nicht in ein Metallgehäuse einbauen ^^ aber die Idee mit der Sicherung ist gut.
Eventuell könnte man noch für jede Phase eine Glimmlampe einbauen, um anzuzeigen, ob alle drei Phasen Strom führen.
@Siren lover Übrigens hab ich mir nochmal die Sache mit diesen zweipoligen Drehfeldprüfern durch den Kopf gehen lassen: Das ist ne gute Idee, keine Frage, aber mit dem dreipoligen Messgerät ist man auch in der Lage, messen zu können, ob alle drei Phasen überhaupt Saft haben. Außerdem kommen die Dinger "näher an die Betriebsbedingungen heran", also werden wie ein Drehstromverbraucher angeklemmt. Und ich denke, dem sollte ein Messgerät so nahe wie möglich kommen. Erinnert mich irgendwie an den berühmten "Lügenstift".
Und ich sage ja auch nicht, dass ihr das Teil nachbauen sollt. Wer es nachbauen möchte, kann dies gerne tun, und wer nicht, muss es nicht ;-)
Re: Drehfeldprüfer selber bauen
Verfasst: Mittwoch 23. Mai 2012, 15:58
von Siren lover
AlteHeuler324 hat geschrieben:
@Siren lover Übrigens hab ich mir nochmal die Sache mit diesen zweipoligen Drehfeldprüfern durch den Kopf gehen lassen: Das ist ne gute Idee, keine Frage, aber mit dem dreipoligen Messgerät ist man auch in der Lage, messen zu können, ob alle drei Phasen überhaupt Saft haben. Außerdem kommen die Dinger "näher an die Betriebsbedingungen heran", also werden wie ein Drehstromverbraucher angeklemmt. Und ich denke, dem sollte ein Messgerät so nahe wie möglich kommen. Erinnert mich irgendwie an den berühmten "Lügenstift".
Und ich sage ja auch nicht, dass ihr das Teil nachbauen sollt. Wer es nachbauen möchte, kann dies gerne tun, und wer nicht, muss es nicht ;-)
Ich sprach von einem zweipoligen Spannungsprüfer (ala DuSpol). Keinen 2 poligen Drehfeldprüfer ;-)
Nun, wenn man nen Drehstromverbraucher anklemmt, sind ja eigentlich mehrere Messungen notwendig.
Sollte ja keine direkte Kritik sein! Ich möchte ja nur, dass sich niemand verletzt ;-)
Re: Drehfeldprüfer selber bauen
Verfasst: Mittwoch 23. Mai 2012, 16:56
von AlteHeuler324
ok, dann hab ich das missverstanden ;-)
Re: Drehfeldprüfer selber bauen
Verfasst: Mittwoch 23. Mai 2012, 17:17
von Die Sirenenwerkstatt
Also mein Fluke kann genau das gleiche was ein Dreipoliger auch kann.... spannung und drehrichtung anzeigen... ganz easy
Re: Drehfeldprüfer selber bauen
Verfasst: Samstag 26. Mai 2012, 11:50
von Ralph
Hallo,
ja, ein 2-poliges Messgerät wie das Beta Unitest 2000 ß, welches du hast Sirenator ist schon sehr genau und reicht für den Heimgebrauch allemal aus was das Drehfeld messen angeht. Noch genauer und sicherer ist allerdings gerade für den "Profibereich" (damit meine ich Firmen etc, welche damit Geld verdienen und für ein richtiges Drehfeld GARANTIEREN müssen) ist ein 3-poliger Drehfeldmesser unerlässlich. Allerdings haben die teuren (ca. 2000 €) VDE Messgeräte einen Solchen gleich mit an Bord.
In meinen Augen ist es absolut nicht verkehrt sich ein solchen Drehfeldmesser selber zu bauen. Man sollte es sich aber selber zutrauen und VORHER ausgiebig mit dem Thema Elektrotechnik beschäftigt haben!
Danke noch mal für den Warnhinweis gleich im ersten Beitrag!
Sicher kann man den Schaltplan ganz einfach um die ein oder andere Sache wie Lämpchen und/oder Sicherungen erweitern. Mein Tip: Gleich an JEDE Messleitung eine Feinsicherung rein.
Gruß,
Ralph
Re: Drehfeldprüfer selber bauen
Verfasst: Donnerstag 31. Mai 2012, 23:02
von Troubadix
Ich weis nicht ob es sinnvoll ist, sich wegen der paar Euros Ersparnis so eine Gerät zu bauen, mit dem man immerhin an 400V-Drehstrom (eventuell auch noch in 32A oder gar 64A-Netzen) hantieren wird. Streng genommen ist der Betrieb von solch einem Selbstbaugerät nicht mal erlaubt, bzw. führt spätestens dann zu strafrechtlichen Konsequenzen, wenn das Gerät Stromschläge verteilt oder die Umgebung (ggf. mitsamt dem Bediener) in Brand setzt. Man muss sich mal vergegenwärtigen, was für eine Power speziell in etwas höher abgesicherten Drehstromnetzen steckt. Da muss man 100%ig (!) wissen, was man tut! Und selbst wer sich auskennt, darf noch lange keine Elektrogeräte bauen und betreiben, weil denen dann die Zulassung fehlt (VDE, GS, CE und was auf so einem Teil alles draufgedruckt sein muss).
O.K.: Solange nix passiert, kräht kein Hahn danach, aber wehe das Teil fliehgt einem um die Ohren und die Bude fackelt ab oder der irgendwer steht nicht mehr auf! Da wird man schnell seines (hoffentlich geretteten) Lebens nicht mehr froh.
Wenn der Basteltrieb juckt, dann kann man viele schöne Dinge zusammen bauen, die mit Kleinspannung funktionieren.
Grüsse:
Thomas (seines Zeichens Energieelektroniker)
Re: Drehfeldprüfer selber bauen
Verfasst: Freitag 1. Juni 2012, 19:21
von Ralph
Hi Leute,
eure Bedenken, was das Thema angeht sind absolut gerechtfertigt und wurden von euch in den Beiträgen ausgiebig begründet.
Deshalb fasse ich hier noch mal grob zusammen:
Wer einen solchen Selbstbau fabriziert...
...ist sich der Gefahr bewusst und weiß, was er tut!
...hat sich VORHER ausgiebig mit dem Thema Elektrotechnik befasst!
...weiß, dass er die Geräte nicht verkaufen kann/darf/sollte.
...weiß, dass bei Schäden jeglicher Art weder das Forum, der Themenersteller, noch eine Versicherung dafür gerade steht.
hat bis hier hin gelesen und kennt die Meinungen der Mitstreiter...
Aus diesem Grund würde ich hier weitere Diskussionen um die Sicherheit und Spekulationen möglicher Schäden unterbinden. Wenn jemand ein solches Gerät gebaut hat, kann er gerne (sollte!) ein bis 2 bilder hier posten ;-)
Gruß
Ralph